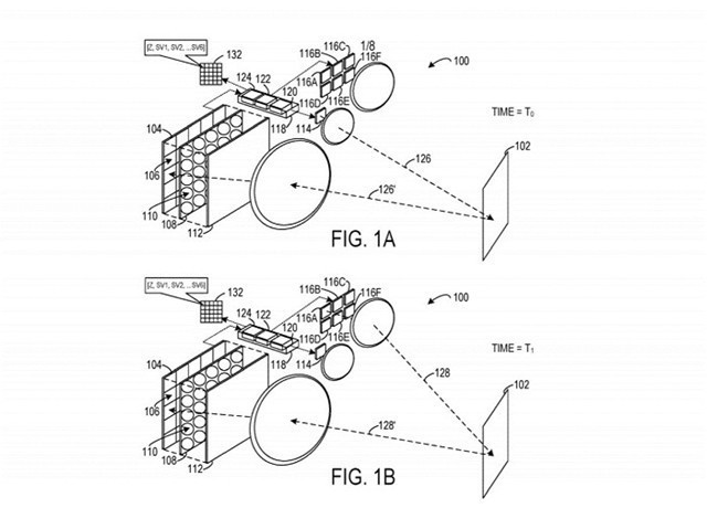
近日据外媒消息,向美国专利商标局提交了一项名叫“具有可调节滤光镜和有源照明的相机”专利,其设计一种包含了光学滤镜的摄像头,且滤镜含了层。

微软液晶滤镜摄像头专利曝光 这种滤镜上的多个液晶层,能够按需在反射和透光之间进行模式切换。不过这样的设计概念,亦可用于打造摄像机。
照相机能够包含针对特定频谱的一部分滤光器,例如红外(ir)相机可利用红外和(nir)波段的滤光器,或阻止其间的部分波段抵达相机的传感器。
虽然这项专利中描述的概念很是有趣,但尚不清楚微软将于何时推出相关的设备。
官方微博:
官方微信:想在手机上获取最新鲜资讯吗?添加全影网官方微信:www7192com
本站部分内容、观点、图片、文字、视频来自网络,仅供大家学习和交流,真实性、完整性、及时性本站不作任何保证或承诺。如果本站有涉及侵犯您的ks8凯发官方网站的版权、著作权、肖像权的内容,请联系ks8凯发官方网站(0536-8337192),我们会立即审核并处理。
近日,2024至2025赛季国际雪联单板及自由式滑雪大跳台世界杯、
在影视制作、表演现场、综艺录制等高度协作的专业领域,无线通信
近日,亿欧智库发布“2024新国货cooltop100品牌榜”报告及榜单,
扫描访问手机版